Disney is building a Villain’s based land for the Magic Kingdom, as well as adding new Cars-themed rides to Frontierland. These new areas are replacing the former Tom Sawyer Island and Rivers of America, which have already been completely removed, as well as expanding into space behind the park. Despite work already underway, there are rumors of the plans changing last minute.
Let’s go over recent construction, the latest permits, and rumors for the Magic Kingdom, in today’s news update. See the video version of this story below for additional visuals.

All aerial photos by Bioreconstruct
Magic Kingdom Current Projects
There is currently a flurry of activity at Magic Kingdom. In addition to the major work happening behind Frontierland, we also have the Big Thunder Mountain re-track project going on now. When the ride reopens this year it will feature new effects.

Aerial view of Big Thunder Mountain, Photo: Bioreconstruct
Buzz Lightyear Space Ranger Spin is also undergoing a major refurbishment. When it opens again soon it will have had its entire targeting system replaced, with new handheld blasters.
Cinderella Castle is being repainted, replacing the pink from the 50th anniversary celebration with a more classic gray color.

In progress painting happening at Cinderella Castle, Photo: Bioreconstruct
That classic gray will be combined with some of the leftover gold accents from the 50th’s version and bolder blue rooftops to create a new permanent color scheme.

New gray color replacing 50th anniversary rose gold pink, Photo: Bioreconstruct
And Carousel of Progress will be receiving an update. According to the company the updated show will feature a Walt Disney animatronic similar to the one seen at the new show in Disneyland.
Cars & Villains Official Details
The biggest projects happening at the Magic Kingdom right now are the Cars rides for Frontierland, taking over a portion of Tom Sawyer Island, and a new Villains land expanding the park’s footprint behind it.

Cars area and Villains Land construction seen from the air, Photo: Bioreconstruct
Officially announced during the D23 event in 2024, they were collectively touted as the park’s largest expansion to date, with construction set to start the following year.
At the time of the announcement a piece of concept art was released for the Cars area, showing how the national park’s style racing ride would weave throughout the new area where the Rivers of America once stood. There would also be a smaller kids ride tucked away in the corner near Thunder Mountain.
A new piece of art would be released later, giving us a better idea of how this upcoming area would fit into the existing Frontierland, with natural-style elements like hills and water features.
Close ups for what the main Cars-themed ride may be like were released as well. This off-road rally ride will be set within the fictional Piston Peak.
Art showed how off-road elements like dirt and water could actually be incorporated into the ride.
Pixar was tapped to help create personalities for the cars that we will be riding in, with each vehicle on the ride featuring its own name and number.
The Villains-themed land has only seen the one initial piece of concept art, released during the D23 event in 2024.
This vague art appears to show a Maleficent-inspired roller coaster attraction, complete with the Maleficent dragon visible in the background.
The lore of the land was to feature a place that’s always been there, hiding behind Fantasyland, where all of the Disney Villains can exist and interact.
Imagineers traveled to Paris, France and Barcelona, Spain looking for architectural inspirations for the new land.
Combining elements of Art Nouveau and Modernisme, the team coined the term “Conjured Architecture.” This blend of historical components and fantastical worlds would create the basis of the visual language for the land.
Demolition & Early Construction
Rivers of America and Tom Sawyer Island officially closed in July 2025. The river was quickly drained and demolition started on the island.
As part of this work, Disney says more than 2,000 fish were removed and safely relocated. According to reporting by BlogMickey, this included largemouth bass, catfish, and sunfish.
New drainage ponds and measures had to be completed first before major work could start in this area. These drainage areas are located beyond Big Thunder Mountain, to the west of the park, as we saw in official permit images.
Work walls have been constructed along the entire length of guest pathways, beside the former Rivers of America site.
These work walls stretch from The Haunted Mansion all the way to Big Thunder Mountain. So far the boardwalk dock that runs along the main pathway in Frontierland has remained open during this work.
Piston Peak Ride Rumors
Walt Disney Imagineering has confirmed that the main Cars ride for Piston Peak will be track-based, and will not utilize a trackless system, despite early rumors that stemmed from the release of official concept art.
They have shown off concepts for the tracked ride system, which they say will travel over bumps to help create the sensation of moving along an off-road environment.

Tracked ride concept shown in We Call it Imagineering
Disney shared footage of Imagineers testing out real vehicles in a real off-road environment for inspiration for the attraction.

Imagineers researching the feeling of driving on a dirt track, Source
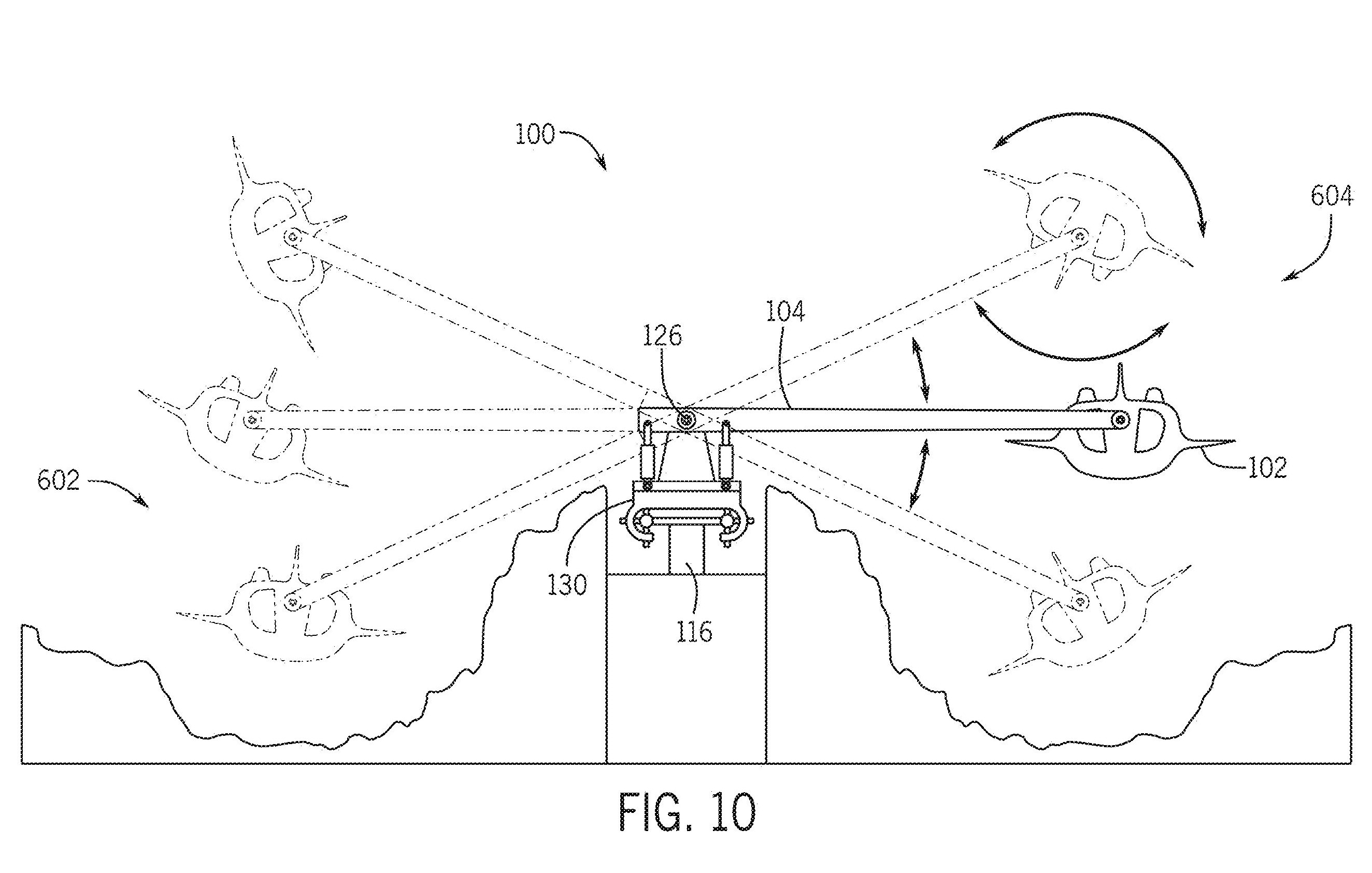
There’s been recent speculation that a newly published patent may be related to the Cars area in some way.
Titled “Ride system having an articulating arm,” and submitted in 2024, just before the attractions would be announced, the patent features illustrations of what appear to be off-road-style vehicles.
In several drawings they seem to utilize a boom arm to create the sensation of jumping over a ramp, or a dirt hill, like in a dune buggy.
It’s unknown if the patent is related to the Cars main ride in some way, but other examples given could possibly be related to the area’s second ride.
The second, smaller attraction, will be geared toward younger guests. Some illustrations from the patent shows various arm movements when moving around an axis for example.

All aerial photos by Bioreconstruct
Recent Cars Construction
Looking at aerial photographs from Bioreconstruct on social media we can see how work on this project is actually progressing rather quickly.
Now that all of the Rivers of America and Tom Sawyer Island elements have been completely removed they can focus on actual construction.
The first concrete forms are being laid within the outskirts of the area.
These forms with rebar, which are likely being prepared to be poured with concrete, are located along the edge of the future Piston Peak area, bordering the main Frontierland path.
These forms are also set fairly deep down, at the lowest point for the new area currently carved out of the land.
While some believe they could be for the ride path, it’s possible these forms will be for a winding stream that will be set along the perimeter of the area, separating the main Cars ride from the rest of the existing Frontierland area.
We can see how this stream appears in the most recent official concept art, hugging the edge of the Cars area along the border with Frontierland proper.
In the center of the Cars area, the land is raised higher, where a section of the former Tom Sawyer Island sat prior.
A large pyramid of sand can be found staged backstage for this project.
Villains Land Construction
Behind the future Piston Peak National Park area, land has been cleared for the Villains land.
This large swath of space goes beyond the former Rivers of America footprint, expanding the Magic Kingdom theme park beyond the berm.
The train is not currently running on this side of the park, and we can see where the train tracks end in the photo below, behind Thunder Mountain, right after the Frontierland station.
The train is currently running though, but only shuttling back and forth between the Main Street and Fantasyland stations. Since it travels backwards for half of its trips, the train’s seating has been split into rows facing forward and rows facing backward. This way no matter which way you’re going you can sit facing the direction of travel.
The cleared areas for Villains land continue behind The Haunted Mansion ride building, reaching all the way to behind It’s a Small World.
Land has also recently been cleared near The Haunted Mansion’s queue. This little offshoot that recently saw trees removed and ground dug up is located directly behind the existing exterior queue for The Haunted Mansion.
Theories for what could be placed here include an expansion to the queue, or the long rumored Haunted Mansion lounge.

Scrim recently added in front of Haunted Mansion, Photo: Bioreconstruct
Work has been ongoing for the exterior of the Haunted Mansion’s facade and it recently received a printed scrim to cover up the scaffolding that’s been put up.
Villains Land Permits
When Villains land was first announced Disney confirmed it would contain two major attractions, dining, and shopping “on an incredibly twisted grand scale.”
Recent permit images filed with the Florida Department of Environmental Protection show how the main structures for both the Cars area and Villains land will be laid out.
As expected, there are two massive structures shown in the plans for the northern part of the park, likely related to the two main attractions previously announced for the Villains land.
The large structure on the left, which is over 50,000 square feet, has been speculated to be for the land’s expected roller coaster attraction.
The larger building on the right would be an indoor dark ride of some sort. Until recently it had been rumored to be similar to the upcoming Avengers Infinity Defense indoor ride at Disney California Adventure.
A smaller rectangular structure can be seen at the back of the area. Due to its shape, and its location along the former path of the railroad, fans are speculating that this could be for a new Villains land train station.
Another structure that may be related to dining and shopping within the area can be seen on the bottom-left.
There is one more structure shown in the plans, between the Cars and Villains area. This building is located in that cleared space near Haunted Mansion.
Could we someday see a Haunted Mansion lounge placed here, right along the pathway that leads to the new Villains land? Or will this just end up being much needed additional queue for the Haunted Mansion?
Villains Land Ride Rumors
Of course, all of these plans are rumored to possibly be changing.
According to a new article by Drew Taylor in The Wrap, it is possible that the plans for Villains land may have been scrapped entirely for new concepts.

Recent story in The Wrap has changed the narrative for this upcoming land
Building on rumors first mentioned by Len Testa, Drew’s story paints the picture that Josh D’Amaro, ahead of taking over for Bob Iger as CEO of the company, has ordered the direction of Villains land be changed.
Comparing the upcoming land to the most recent offerings from their competitor, Universal Orlando, instead of a darker vision, like Dark Universe in Epic Universe, the new rumor states that the Villains land may instead take inspiration from How to Train Your Dragon Isle of Berk.
Many fans are taking this to mean that the land would abandon its edge in favor of more broad family appeal, but the article does seem to indicate that the changes would be part of an effort to dream bigger, and infuse more budget into the project.
Instead of only two attractions, there could be more. Instead of a rumored screen-based indoor ride, the main attraction could become a detailed Shanghai Pirates-style boat ride, featuring Maleficent.
The large-scale thrill coaster is now rumored to become a more family-friendly adventure starring Yzma and Kronk from The Emperor’s New Groove.
Other rumored concepts from The Wrap story include a dinner theater featuring Hades, and Pain and Panic.
And possibly other flat rides like an Ursula spinner, something that was previously dreamt up for DCA but ultimately not used.

Unused spinner ride concept by Jim Shull
It’s possible changing plans may have already taken effect in the permits, as the most recent permit images show the main indoor attraction’s footprint as somewhat larger and differently shaped as compared to an earlier permit image posted in January.
— DSNY Newscast (@DSNYNewscast) February 27, 2026
Without Disney confirming any of these rumors or theories, all we have so far are the official mention of “two major attractions” from 2024 and vague concept art showing a coaster. But we will keep an eye on all new permits and construction on the ground to see if anything else changes.
Project Timetable
No timetables for these projects have been given by the company, with most people expecting the Cars rides to debut in a couple years and the Villains land to open by the end of the decade. We should hopefully receive new details at this year’s D23 event in August.
In the meantime, we do have a relatively new Villains show open now in Hollywood Studios. This being the resort’s most recent offering featuring these characters might give us some insight into how they may be portrayed in their new land.
Or, the incoming new CEO may still have more changes to order. Only time will tell.
That’s all for now, but be sure to see the video version of this story for additional visuals. See our latest update from Epic Universe for a breakdown of recent expansion plans submitted to the county for that park.

Aerial photos by Bioreconstruct
Subscribe to the news feed or enter your email address below to never miss an update. Original Photos: Alicia Stella | Aerial Photos: Bioreconstruct | Official Images: Disney | Other Images as Captioned
Subscribe to Receive Email Updates
Consider supporting us on Patreon for as little as $1/month. All patrons receive behind the scenes posts and exclusive podcasts. Learn More
Discover more from Orlando ParkStop
Subscribe to get the latest posts sent to your email.























































0 Comments